335
Parece que a possibilidade de jogar nossos games amados do PS2 no PS3 ainda não está totalmente descartada.
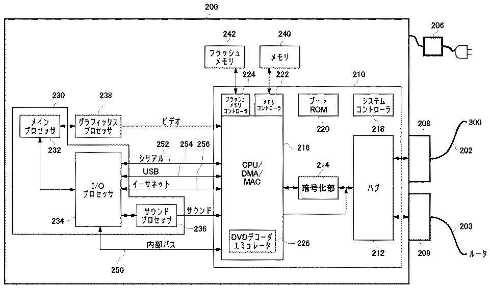
Esta patente, de 2009, indica um dispositivo add-on de retrocompatibilidade com PS2. O assunto ficou meio morto até agora e voltou à tona por conta de um anúncio de empregos da Sony, solicitando engenheiro para desenvolver um sistema de emulação no PS3.
Leia mais na minha fonte original, Siliconera, e na fonte original desta, Gigazine.
E, procurando o anúncio do emprego de engenheiro, encontrei a vaga de “Testador de Games“.
Salário: mais ou menos US$ 10 por hora. Dá uns US$ 1.700/mês.
Que tal? rsrs

